王立朝 谷 安 張新朋 方志軍
(青島卓東機械科技有限公司,山東青島266400)
摘要:提出了一種基于工控機和運動控制卡的多工位數控沖壓機床控制系統的設計方案。工控機作為上位機負責控制系統的非實時任務管理,而運動控制卡則用來負責完成運動控制中的實時任務。利用VC++6.0為開發工具,開發出多工位沖床的數控系統,不僅能滿足零件加工的高精度要求,還實現了產品的數控自動編程功能。
關鍵詞:控制系統 運動控制卡 數控自動編程
0 引言
隨著鈑金沖壓工藝的迅速發展.數控沖壓機床得到越來越廣泛的應用。數控沖壓機床是高速度、高精度鈑金沖壓設備,其發展方向以提高生產效率為首要目標。盡管國內通用的數控沖床有了很大的發展.但是具體到加工某些特定類型的零件時就顯得很不方便,并且它的價格非常昂貴,很難滿足廣大廠家的生產要求。
本文針對江蘇省某公司當前大量生產的一種帶料類型零件.提出了一種基于工控機IPC和DMC運動控制卡的多工位數控沖床控制系統的設計方案.成功地解決了該公司零件加工生產線上的實際問題。按照本文方案設計的數控系統,滿足了零件加工時的精度及速度要求.且在實現數控加工控制的基礎上,進一步實現了該數控沖壓機床對加工零件的自動編程。
1 工位結構及零件類型
該生產線上所用沖壓機床有A、B、C3組沖頭.分別用來負責3個沖壓工位的加工,可用于加工各種不同型號的零件。在該沖壓機床的3組沖頭中.A、B工位的兩組沖頭在結構上很類似,部是由兩捧組成,每排各有6個,即執行1次沖壓動作便可完成12個孔的加工.C工位只有1個沖頭.3組沖頭的結構布局見圖l。根據廠家的生產需求,該機床所要加工零件的示意圖見圖2(根據實際需要,也可只加工3個沖壓工位中的1個或2個工位)。其中,靠近零件最外面的兩排孔是由A組沖頭沖壓得到的.最里面的一排孔是由C沖頭沖壓得到的,剩余的兩排孔是由B組沖頭沖壓得到的。對于不同的零件.3個沖壓工位的孔間距.孔邊距以及各工位孔的加工數量是可以不同的,以便于加工出廠家所需要的各種零件。
整套控制系統除了上面所講到的3個沖壓工位之外,還包含1個剪切工位、2個夾鉗夾緊工位。剪板機用來剪斷帶料,2個夾鉗一個為固定夾鉗.另一個為移動夾鉗.它們之間相互配合使用來實現帶料的移動以及沖壓和剪切動作時的夾緊操作。
2控制系統硬件總體設計
隨著IPC機性能的提高和價格的降低,用IPC機開發CNC系統的巨大優越性逐漸顯現出來田。在該數控沖境機床的控制系統設計方案中,工拄機IPC作為上位機,而將DMC3400運動控制卡嵌入到工控機當中,以實現加工過程中對機床的運動控制。整個機床的數控系統控制接線圖見圖3。其中,工控機用來負責處理控制系統中的非實時任務,如人機界面的管理
等,而運動控制卡則負責運動控制的所有實時性工作,如各個沖壓工位的動作、限位處理、夾鉗動作及液壓卸荷等等。除此以外,控制系統還包含電源、伺服驅動器、伺服電機和繼電器等元件。在本系統中.運動控制卡和伺服電機之間靠交流伺服驅動器連接。伺服電機選用了松下公司生產的MSMA022C08型號電機,根據實際情況,相應的交流伺服驅動器選用了MSDA023DIA型號。
DMC3400運動控制卡作為下位機控制單元,它在專機系統的開發過程巾具有更大的靈活性和開放性。通過獲取工控機里的執行程序命令,運動卡控制伺服驅動器發送脈沖到伺服電機.伺服電機再通過絲杠的轉動來帶動移動夾鉗做直線運功,從而實現板料的移動。此外,原點信號通過運動控制卡的通用及專用輸入口傳送給工控機,工控機發送相應指令來改變各輸出口的狀態.進而通過繼電器通電狀態的改變來控制液壓及氣壓回路的通斷,完成系統相應工位的動作。
3控制系統軟件設計
本數控轉塔沖床控制系統軟件部分是在VC++6.O環境下用C及c++語言編寫而成,整個控制系統采用當前最常用的模塊化程序設計思想,包含了信號測試滲數設置、加工控制、自動編程幾個功能模塊。
(1)信號測試主要應用于手動操作狀態下,可以測試各個信號的功能是否完好.常用于機床調試.例如3個沖壓工位的功能測試,檢驗剪板機、兩夾鉗的功能是否完好,手動前進后退等。在信號測試狀態下,每當有相應的輸出動作時,界面上相對應的顯示部分就會有對應的顏色變化,讓使用者一目了然。
(2)參數設置用來設置機床的各個參數,如工件移動速度、央鉗回退速度、夾鉗手動移動速度、工作延時,還有液壓系統在不工作狀態下保持液壓的時間、零件加工前設置好各個工作參數,以保障加t安全以及更大程度提高工作效率。
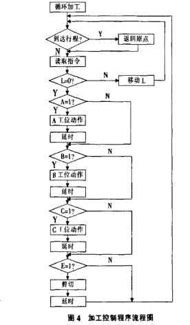
(3)加工控制這是整個控制系統的核心部分。在加T控制模塊的編程過程中.充分考慮到機床實際加工時的各種工作狀態,如手動加工與自動加工、單次加工與循環加工、自動復位、自動回零點等操作。編寫掃描函數來對運動控制卡的各個口子的狀態進行定期的掃描.以確定機床當前的工作狀態.做出適當的分析,發出相應的指令,保證整個系統的正常運行。加工控制程序流程圖地圖4。
部分控制程序代碼為
conaL UINT NORUN =OXOOOI;
const LJINT RUNNINC =OX0002;
consL UINT CONTINUE =OX0003;
conSL UINT PAUSE =OX0004;
if(bnrn==true&&bAuto==Lrue)
{
if (m_nWorkStatua==NORUN) //若空閑,加工
nr_nWodcStatus=RUNNINC; //運行
if(m_nWorkSarun==PAUSE) //若暫停
m_nWorkSiatua=CONTINUE;,//繼續
}
if(m_nWorkStatu~==RUNNINC&&bAuto==false))
mjWorkStatus=PAUSE; //暫停。
進入零件加工界面后,可通過按鈕操作來選擇手動加工或自動加工。手動工作狀態下主要是進行單步的加工操作。在自動加工狀態下.首先打開包含零件加工代碼的TXT文件,然后選擇好循環起點,便可進行循環加工操作了,若選中單次運行下的打開按鈕,還可進行零件的單次加工。
在加工過程中,如遇到特殊情況進行了暫停操作,下次操作之前在恢復斷點后面的下拉菜單巾選撣好斷點位置,便可在暫停前的基礎上繼續加工。在機床的工作過程中,加工界面可以顯示加工程序代碼的運行過程.各個工位的工作狀態也很清晰地顯示在界面上。系統的加工界面見圖5。
(4)自動編程該機床加工產品種類多,加工程序代碼的編寫需要占用很長時問.故控制程序中編寫了自動編程模塊。編程思想是采用疊加原理針對要加工零件的3個沖壓工位:先只考慮A工位,根據A工位的各個參數編寫出零件的加工該監控系統硬件可靠.軟件設計可以很好地實現實時監控和報警保護等功能,達到了水庫閘門自動化監控的目的。程序代碼1:再只考慮B工位,根據B工位的各參數編寫出零件的加工程序代碼2.然后把加工代碼2正確地插入到l中,便得到A、B兩個工位的加工代碼;同樣道理,在只考慮C工位加工的情況下,將得到的C工位加工程序代碼正確插入到上面A.B兩工位加工程序代碼中,便得到整個零件的加工程序代碼。自動編程界面見圖6。

4絡束語
采用本文的設計方案所開發的控制系統,應用于該公司的多工位數控沖壓機床之后,運行良好,控制精度高,操作簡單,加工速度大幅提高,獲得了單車間年產值上億元的成果,大大提高了成產效率。另外,該控制系統只需做少量的改動,便能應用于其它生產線上的沖壓機床,有很高的實際應用價值.